Qingdao Xin Aneng Conveying Machinery Co., Ltd.
Qingdao Xin Aneng Conveying Machinery Co., Ltd.
Xəbərlər

Təmiz protokol müəyyənləşdirilməsi

1.1 Təmiz proqramın təyini

Kaş ki, yapışdırılmış kömür tozunun yapışqan lentini süpürün. Hamımızın bildiyimiz kimi, dağ-mədən üzündən daşınan xam kömürün müxtəlif nəm dərəcə var və incə pulverized kömürü lentin səthinə bağlamaq asandır. Bantın boşaldılmış kömürlü kömür təmizlənmirsə, pulverized kömür kəmər saxlama qutusuna və boş hissədə bütün alt kəmərin altındakı rulonun altına gətiriləcək və bu, əsasən kəmər saxlama qutusuna qoyulacaqdır.

Əsas nəticələr:

Dəstək rulonunu dəfn edən kəmər saxlama qutusunda çox miqdarda pulverizə edilmiş kömür yığılır, rulonun qayınanın xidmət həyatını işləməyə və təsir göstərməməsinə səbəb olan;

2) Kəmər əməliyyatının sapması kənarın asılmasına və ya yırtılmasına səbəb olacaq;

3) lentin çalışan müqavimətini artırmaq və dəyəri artırmaq;

4) Kömür təmizlənməsinin miqdarı, işçilərin əmək intensivliyini artırır;

Kömür təmizləyicilərindən istifadədə, həll ediləcək üç problem var:

1) Təmizləmə effekti yaxşı olmalıdır;

2) Təmizləyicinin əvəz edilməsi asandır və təmir iş yükü kiçik olmalıdır;

3) təmizlənmiş pulverize kömür üçün bir yol olmalıdır.

1. Mövcud vəziyyətin təhlili

1) ənənəvi kömür təmizləyicisinin quruluşu və mövqeyi


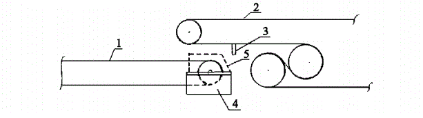
Şəkil 2-1-dən göründüyü kimi, kömür təmizləyicisi ümumiyyətlə barabanın arxasında quraşdırılır. Kömür təmizləyicisi, kömür təmizləyici çərçivəsi yaratmaq üçün iki parçalanmanın ortasında bir bant parçasını düzəltmək, pin və qolu quruluşunu təmizləmək üçün istifadə edərək, kömür təmizləyicisini və içi boş kəmərin gərginliyini istifadə edərək, təzyiq kompensasiyasından sonra kömür təmizləyici lentdən istifadə edə bilər.

2) ənənəvi kömür təmizləyicilərinin qüsurları

a. Kömür təmizləyicisi təmizləyici lentdən ibarətdir və alt kəmər içi boş bir kəmərdir, kəmər kömür təmizləyicisinin təzyiqi altında üzür, kömür təmizləyicisinin təzyiqi kifayət deyil və təmizlik təsiri zəifdir.

6. Kömür təmizləyicisi boşaltma nağara arxa tərəfindədir və təmizlənən nağara qurtaran nağara qədər 1 m-dən çox məsafədədir və kömürün növbəti kəmərin hündürlüyü üçün kiçik bir kömür hopperini emal etməsi lazım deyil, yıxılan kömür sürüşdürülə bilməz.

c. Kömür təmizləyicisinin dəyişdirilməsi böyükdür, bu da kömür təmizləyicisini asanlaşdırır və dəyişdirmə dövrü də çox qısa olur.

3) tipik kəmər nəqliyyat dövrə eklemi

Tipik bir kəmər nəqliyyat dövrə Şəkil 2-2-də göstərilir.

Şəkil 2-2-dən göründüyü kimi, kömür təmizləyicisi altındakı kömür birbaşa bir kəmərdə sürüşdürə bilməz və "Kömür mədəni təhlükəsizliyi qaydaları" nın 35 işləyən hissəsi qoruyucu qurğu ilə təchiz olunmalıdır, beləliklə bir kəmər bir qalxan ilə təchiz olunmalıdır, buna görə iki kəmər təmizləyicisi tərəfindən sürüşdü.

Əlaqədar Xəbərlər
Mənə bir mesaj buraxın
X
Biz sizə daha yaxşı baxış təcrübəsi təklif etmək, sayt trafikini təhlil etmək və məzmunu fərdiləşdirmək üçün kukilərdən istifadə edirik. Bu saytdan istifadə etməklə siz kukilərdən istifadəmizlə razılaşırsınız. Məxfilik Siyasəti
Rədd edin Qəbul edin